Соединительные коробки ВЭ-122 ДУ
Соединительные коробки ВЭ 122.ДУ предназначены для подключения кабелей системы управления электрообогревом и датчиков температуры:
Коробки поставляются в различной комплектации, в зависимости от варианта крепления к обогреваемому трубопроводу или резервуару:
– ВЭ 122.ДУ комплектуется устройством ввода под теплоизоляцию и крепится непосредственно на поверхность трубопровода, резервуара.
Конструкция корпуса обеспечивает защиту от проникновения влаги и пыли степени IP66 и высокую коррозионную стойкость. Применяемые клеммные наборы позволяют подключить многожильные или одножильные провода сечением от 0,5 до 2,5 мм2. Для заказов доступны исполнения коробок с винтовыми или пружинными клеммными зажимами, а также с различными видами взрывозащиты – вида «e» (повышенная надежность) и вида «ia» (искробезопасная электрическая цепь).
Особенности:
- Гибкость в выборе комплектующих в соответствии с проектным решением
- Удобство монтажа
- Высокая термостойкость
- Не подвергаются коррозии
- Высокая механическая прочность
Применение
Коробки ВЭ 122.ДУ позволяют выполнить подключение 1 или 2-х кабелей передачи данных и сигналов, подключение до 3-х датчиков температуры и ввод под изоляцию до 4-х датчиков температуры (1 резервный).
Технические характеристики
| Климатическое исполнение и категория размещения по ГОСТ 15150-69 | УХЛ1 |
| Степень пылевлагозащиты | IP66 |
| Маркировка взрывозащиты | 1Ex e ||C T3...T6 Gb X |
| Рабочий диапазон температур окружающей среды | -60...+55 °С |
| Рабочее напряжение | до 550 В |
| Рабочий ток | до 50 А |
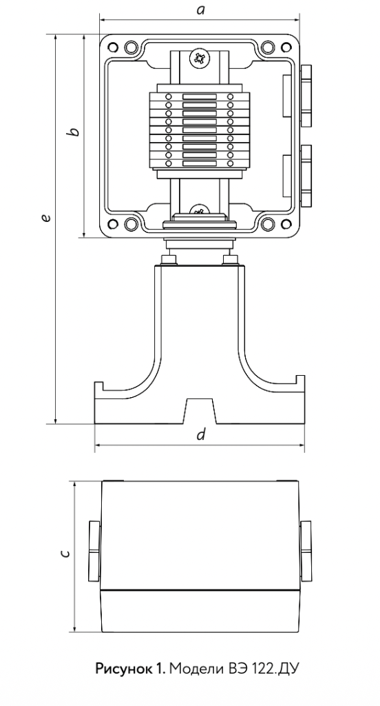
| Габаритные размеры корпуса | 122x120x91,5 мм |
| Масса коробки в максимальной комплектации |
1,2 кг |
| Материал/цвет корпуса | Стеклоармированный полиэстер/черный |
Подвод питания к саморегулирующимся нагревательным кабелям
Габаритные размеры
Подробности сертификации
№ ЕАЭС RU C-RU.АЖ58.В.02862/22
